蘋果Apple Watch之所以能成為最受歡迎的智慧手錶,與其在日常生活和鍛煉中能夠跟蹤監測使用者的運動資料有很大關系,而且由於最新Apple Watch的健身和健康功能能夠提供心電圖堅持功能,還曾挽救了生命。 現在,蘋果可能會將這些功能進一步擴大適用範圍,將其內置到MacBook的觸控板附近,為未來的蘋果筆記型電腦提供類似的功健身和健康追蹤功能。
在蘋果現有的硬體產品線中,Apple Watch是相對特別的一條線,因為蘋果尚未將這一可穿戴設備的功能應用到iPhone或MacBook等其他硬體中。 雖然iPhone也是行動裝置,使用者群更大,但或許由於Apple Watch中的感應器佔用空間太大,無法融入其中。 不過,蘋果的筆記型電腦產品就不一樣了,根據最新專利,蘋果計畫為MacBook塞進小型生物感應器,讓使用者在打字過程中也能提供健身和健康追蹤功能。
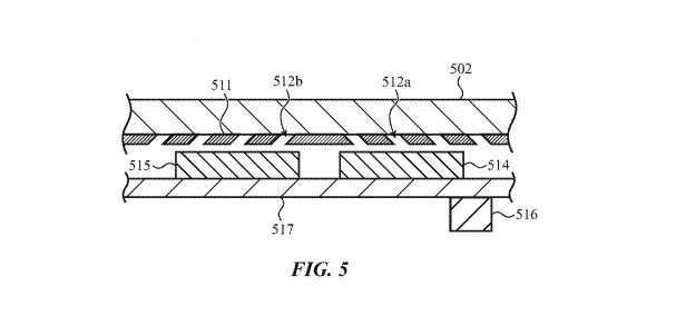
本週四,美國專利商標局(U.S. patent and Trademark Office)公佈了一份蘋果的專利申請,題為《集成生物感應器的可擕式電子設備》(Portable electronic device with an integrated bio-sensor),主要描述了蘋果如何在MacBook等大型物理設備的外殼內安裝生物監測感應器。

與Apple Watch上採用玻璃圓形的感應器一直接觸使用者手腕的做法有所不同,在MacBook上蘋果採用了兩組設有微穿孔的感應器代替,這些穿孔表層有透明或半透明的保護層。 從功能上來講,這與Apple Watch手錶上通過光電容感應器掃描記錄的方法相似,一些綠色的LED光會從小孔穿射出來,照射到使用者皮膚上,然後使用者手腕反射回來的光線通過第二組小孔進行收集, 接下來就是就是交給系統進行資料分析的工作了。
從專利描述來看,這些感應器能夠檢測使用者身體狀態的多個元素,包括心率、呼吸速率、血液氧合水準、血壓,並估測出血容量等等。 同時,得益於紅外LED光源的加入,還支援檢測使用者體內的水分含量,增加可測量專案的數量。
專利描述還顯示,這些內置於孔內的感應器還能夠通過兩種不同的功率級別來工作,從而使其能夠在大部分情況下監測更密集的資料,例如偶爾監測心率,偶爾執行更高級別的其他檢測任務,而且這些孔也自動的對角度進行調整, 讓皮膚光反射的讀取更加準確。

很多人會問這兩組內置感應器的孔設計在哪裡,專利表示這些感應器會設計在靠近觸控板的掌托位置,蘋果認為這個是一個比較理想的位置,因為使用者在MacBook上打字時感應器可以近距離的接觸到手腕。 因此從理論上來講,只要使用者在鍵盤上主動打字或停靠,而且處於感應器可掃描的範圍內,那麼MacBook也能像Apple Watch那樣定時監控使用者的心率。

此外,根據描述,除了提供健康和健身功能之外,這組感應器還將提供一些其他更基本的檢測功能,比如檢測使用者是否處於離開狀態,如果使用者還在電腦前,可以防止MacBook進入睡眠狀態。
無論如何,上述一切還只是專利,而且蘋果每週都會申請大量的專利。 一般來說,既然有專利存在,說明蘋果的確對專利中涉及到的東西感興趣,但是否會進入實際生產或提供給消費設備,這就要蘋果內部再次決定了。 按照傳聞來看,蘋果現在優先擴展健身健康功能的設備應該是AirPods,借此繼續擴大和鞏固可穿戴設備市場的地位。
=========
我是從來沒聽過筆電也能測心率,蘋果這樣做簡直就是一石二鳥阿
要是如果Touch ID能夠測血糖,簡直都可以用MacBook來當成醫療器材了.....




























































































