SYM Maxsym TL 試駕 超值黃牌雙缸首部曲

已經賣超過一千台,將近三億台幣,這個銷售成績不知車市專家怎麼看呢,這一千個買家大多數根本連車毛都還沒見著哪,我想這可能創了台灣某類型銷售紀錄,是不是呢.
weipulee wrote:
將近三億台幣...(恕刪)


很多嗎?

勁戰每一出新款~~~營業額是好幾個3意!!!!
達浪林 wrote:
坦白說,論造型還是T媽好看。
論造車工藝,也是T媽最成熟。
可惜,就是太貴。
如果28.8萬能買到狀況好的16年T媽,那我可能就選後者了。

TMAX的屁股收尾比較漂亮

另外只有TMAX的避震藏在下方
國產的都放在左側傳動上方,頗有當年GY6 125的風範阿.....
多了多連桿就是了~
zzzrrrzz wrote:
台中場小弟也去試騎了...(恕刪)

zzzrrrzz wrote 大大請問
有綿羊起步抖動的問題嗎?
kaishan99 wrote:
zzzrrrzz wrote...(恕刪)


不會,與一般綿羊不同,MAXSYM TL因為採用濕式多片離合方式,所以不會有起步抖動的問題,但也因為起步接合轉速稍微高些,所以剛催下油門會感覺較有衝勁....這衝勁比AK及TMAX還強些,但就是剛起步,速度稍一上來,排氣量相對劣勢,另兩部就更快了~

但值得注意...大多數試乘場合,就算是乾式離合大羊也不太會感覺起步抖動,因為車況都很新...這種抖動問題通常要碗公與離合器磨合好幾千公里後才逐漸明顯...若是濕式離合就不會有這種狀況,而且不太會有陡坡走走停停燒碗公的問題,算是TL的一大優勢~
TL應該是不會 汽車等級
是新的傳動


https://attach.<img src=
mobile01.com/attach/201911/mobile01-6fbbc58106096ac062ae5f70781c15a8.png">
試駕感覺順順
汽車等級的CVT
hk91j16 wrote:
TL應該是不會 ...(恕刪)

完了! 只要一壞掉,就是要大拆了!! 還要拖吊。
達浪林 wrote:
坦白說,論造型還是T...(恕刪)

我本來也想買15年的T媽,想一想,我又不認識騎車的人,買二手不如買新車,少了TCS 台灣路面也不能快到哪裡,就預購了。
fachenry wrote:
完了! 只要一壞掉,...(恕刪)

哈哈 應該是不會如果會壞掉 正常都是使用過度或是使用里程才會壞掉
或是車禍 不用太多慮
hk91j16 wrote:
TL應該是不會 (恕刪)


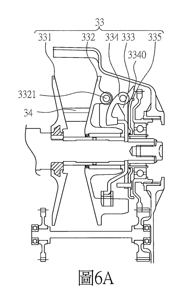
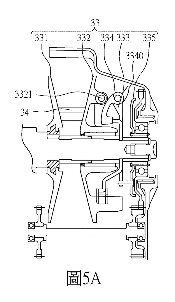
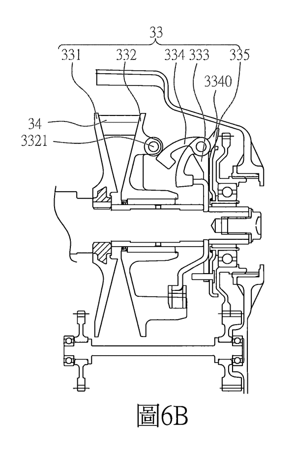
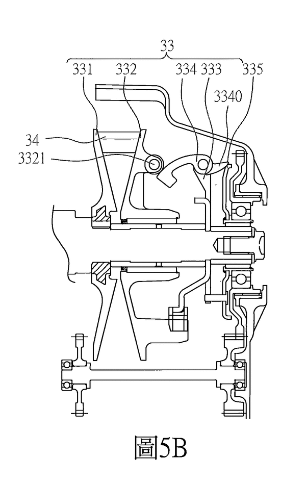
hk91j16大大波的是三陽早一些的專利資料,後來2017有改版,主要是將四連桿簡化了,便於耗材更換與維修,普利盤還有分經濟跟性能模式,因為網路都找不到他的CVT怎摸作動,希望以後TL可以有類似動力調整功能。不曉得TL是這種形式的嗎?

此為經濟模式5a>5b,轉速到了,類似搖臂(兩支)會同時張開,因離心力使低轉時達到普利盤往左移動,即可驅動車子。



此為效能模式6a>6b,因為馬達將一擋牆335往左邊推,搖臂只有一支會張開,另一支被擋住了,所以離心力需更高轉速才能將普利盤左推,使得高轉有最大推力


此為初為步看了專利,獻醜了。
文章分享
評分
評分
複製連結
請輸入您要前往的頁數(1 ~ 31)

今日熱門文章 網友點擊推薦!