IT之家6月28日消息 微軟可能正在開發Surface Book 3的新功能,這將使設備的可拆卸機制可以更好地工作。 在最近公佈的專利中,微軟概述了對二合一設備的可拆卸機制的改進。
美國專利商標局於2019年6月25日發佈了一項名為「Locking mechanism」(鎖定機制)的新專利申請,並於2017年由微軟提交。 在專利申請中,微軟稱混合電腦是一種新趨勢,這種設備包括一種機制,允許顯示器與底座分離。
微軟表示,該專利包括了可以解決不利因素並進一步改進設計的方法。

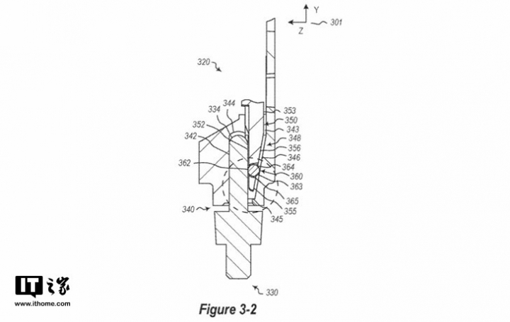
發明人表示,該裝置的兩個部分應該通過安全鎖定結構連接在一起,該鎖定結構包括鎖定突起、鎖定插座和磁鐵。 安全連線還將確保「第一部分和第二部分之間的最小間隙」,並提供最小的空轉。
「另外,在一些實施例中,可能需要將鎖定突起插入鎖定插座(包括鎖定,例如360度滾動鎖和/或其他鎖定部件)所需的最小的插入力。 」微軟解釋道。

「在一些實施例中,可以抵抗張力而不會損失第一部分和第二部分之間的電子通信連通。 在一些實施例中,可以抵抗張力而不使鎖定機構的鎖定部件塑性變形,」微軟解釋說。
該專利中描述的空隙技術可能意味著使用者可以快速改變形狀,並旋轉設置而不會損壞硬體或軟體。
=============
看樣子新一代的SB3的改進會比SB2還要好,可以稍微期待一下,不過,大家觀望的就是會不會加入Thunderbolt 3,如果SB3沒加入Thunderbolt 3的話,這得要打微軟屁股了....
PS:如果有AMD版本的SB3的話,應該會很香wwww




























































































