因為不需要光碟機可降低成本,只要價格/音質還OK,應該是可以有些市場啦!
所以,無光碟機汽車音響+車架的價格,最好與市面最低價的雜牌音響差不多,甚至要更便宜!!
沒有賣不出去的東西,只有賣不出去的價格!如果只賣900~1200元,老車/貨車都有可能會裝。
只不過...汽車音響最好要能播放FLAC檔,才比較不會因MP3音質被壓縮而影響到音質。
但現在似乎也沒有支援FLAC的汽車音響....這個建議當我放屁!

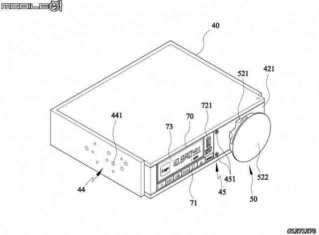
另外,再強調一點,
若要佔用1 DIN音響的空間來做車架,應該要讓車架可以收進去。最好不要凸出一個東東在那裡!
其實我覺得不很難,只要在車架佔用空間弄支可伸縮拉出來的強力夾子就好了!
用夾子夾住導航機附的那根可彎來彎去的桿,就不必用吸盤吸了!
可調整高度距離,也相容於大多導航機附的車架。
若導航機附的車架是沒有桿的....就麻煩了!
但你的車架也可以附個轉接座+玻璃,讓原廠的吸盤可吸在上面。
另外,既然己犧牲了1 Din的音響空間,且音響要重新規劃配置,
音響車架最好附一個5V 2A的USB獨立電源輸出,這樣才不必有一條車充線在晃來晃去。
而音響本身必須要有符合某主流品牌CD箱的接頭。
業代殺手,斷人財路!