CRV三代,車窗的玻璃泥槽架,哪裏買得到?

如圖,車子停路邊白線時,車窗被醉漢打碎

今天維修剛好發現玻璃泥槽架生鏽很嚴重,在蝦皮、淘寶搜索關鍵字都找不到,請問有人知道哪裡買得到,及大概價位嗎?感謝


CRV三代,車窗的玻璃泥槽架,哪裏買得到?

CRV三代,車窗的玻璃泥槽架,哪裏買得到?
文章關鍵字
好心情心情好 wrote:
如圖,車子停路邊白線(恕刪)

原廠應該有, 但絕對不便宜 ~
好心情心情好 wrote:
如圖,車子停路邊白線(恕刪)



有時很不想回這種東西= =
100%容易觸犯版規,我直接丟你私訊
去看吧
大野狼 wrote:
原廠應該有, 但絕對...(恕刪)


哈!看來真要換的話,只能找原廠了
AokiSora wrote:
有時很不想回這種東西...(恕刪)


感謝AokiSora大的詳細私訊訊息,很有幫助!
好心情心情好 wrote:
感謝AokiSora(恕刪)
抱歉,鬧笑話了…
朋友說你這是後門
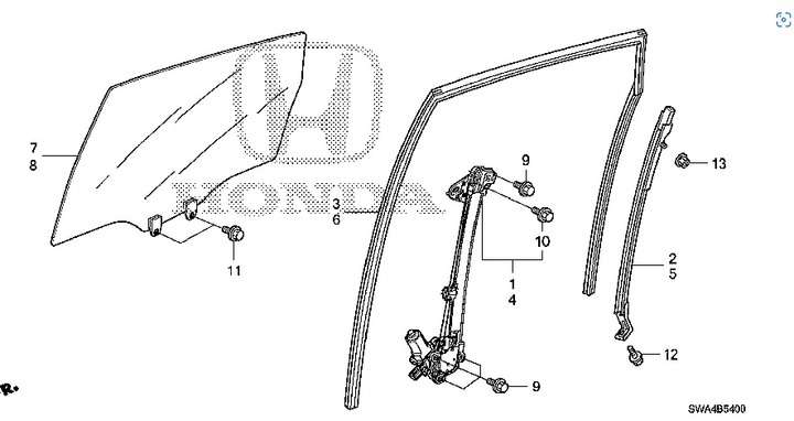
附上圖片給你,用你料號去找

非業務也不是汽車技師
只是科技業的工程師
對相關有研究也有興趣
請安心服用

平常手機不會放在身上,所以等較不忙才回

2007 CRV 後門圖解+料號

AokiSora wrote:
抱歉,鬧笑話了…朋友(恕刪)


哈哈謝謝AokiSora大!小弟順便多學些東西,感謝結構圖
文章分享
評分
評分
複製連結

今日熱門文章 網友點擊推薦!