起點: Châtillon-sur-Chalaronne
終點: Grand Colombier
賽道類型: 山地站
距離: 137.6km
累積爬升: 2453m
賽道難度:3顆星
開賽時間:19:45
預計結束:23:12
地形

地圖路線


登山點
HC級坡,海拔1501m,km 120.4 - Grand Colombier, 17.4km at 7.1%,最大坡度10%,爬升1245m


終點路線圖

7月14日,是法國國慶日,也稱為巴士底日
用來紀念法國大革命時民眾攻陷巴士底監獄,開啟了法國大革命
創建了法蘭西共和國

今天的路線不長,都是平路,只有終點一座HC坡
Colombier,柯隆比耶爾山是一個環法經典路線
2020年時Pogacar在這裡以些微的差距打敗Roglic拿下本站

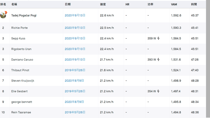
Strava上的KOM到目前為止還是Tadej Pogacar
17公里的山路,花了45'37"從2020年至今
Srava

而在這之後的第20站美少女高原登山計時賽打敗了Roglic拿下領先黃衫
所以這站對Pogacar和Jumbo Visma都有重大的意義
一個是在這開啟了環法的2連霸,另一個是帶著復仇的火焰而來
前面的120公里都算是鋪墊暖身,17公里的山路才是決勝的關鍵
是Pogacar拿下山頂還是Vingegaard?
我賭Pogacar贏一個輪胎





)
看來大家都想知道鱷魚到底是誰?























































































