繼XTR M9050 Di2發表之後, 不禁令人聯想到在公路Di2使用序列式換檔的可能.

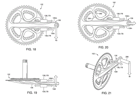
以下是Shimano一項內藏功率計大盤的專利圖, 看式樣應該已登記了好幾年.

將兩項東西聯合起來, 我們會得到一套合乎科學的自動換檔系統.

無線電變廿年前Mavic已(幾乎)成功了, Shimano的野心並不止於以方便為本那樣膚淺.

以上只是某些人的推測.

可能是Shimano下一波特破性新產品

可能是Shimano下一波特破性新產品

可能是Shimano下一波特破性新產品
文章關鍵字
哦!!!!!!!
可是我一點都不在意它是否是新產品....
也無感5800的誕生
艋舺的結局是什麼?為了什麼而爭
Mavic已(幾乎)成功....
願聞其詳

yuettoi wrote:
繼XTR M9050...(恕刪)


好巧我今天也在注意這篇,只是純粹在研究功率計
文章分享
評分
評分
複製連結

今日熱門文章 網友點擊推薦!