
監理所最新一波的車牌標售甫於今天中午12點結束,當中大家最關注的話題,無非是於11/10號開放競標的CAT車牌,由於剛好與貓的英文相同,讓這張CAT車牌備受矚目。畢竟現在養貓的人可能比養小孩的還多,貓奴們花在貓身上的費用也是沒在客氣,舉凡食衣住行都可見到各式各樣的花費,相當驚人!
經過兩天時間,這張CAT-0001~CAT-9999的車牌在今天中午12點正式結標,同樣身為貓奴的我,當然也很關注這張車牌各種號碼的成交費用
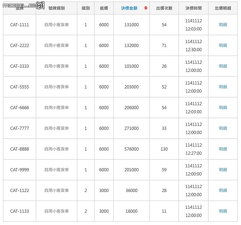
先從最昂貴的鐵支牌來看,扣除台灣現行車牌不會出現的4以外,即使是成交價最便宜的CAT-3333,結標價格也突破十萬大關而達到10.1萬元!並且除了1111、2222、3333以外,5~9的鐵支牌成交金額都在二十萬元以上!更別說是常駐標牌榜首的8888,在這次CAT-8888的車牌競標中,也以高達57.6萬元的驚人金額成交,或許不是車牌歷年來最高,但花近六十萬元買張車牌也是夠瘋了~我查了幾張英文C開頭的8888鐵支牌成交價,大都落在10~40萬元之間,所以57.6萬確實是蠻高的成交金額。
而且不只是結標金額相對較高的鐵支牌,翻閱這次CAT車牌各種號碼的結標金額,像是對號類的1122、1133等諸如此類,結標金額亦是明顯高於過往,其中若有號碼跟自己家中的愛貓生日相同,我想應該也會有貓奴以高價標下吧!只能說貓奴們的奴性真的非常可怕

有興趣查閱這次CAT車牌結標金額的網友,請至監理所網站的標售紀錄查詢:
監理所車牌標售紀錄查詢



























































































